


Max Power
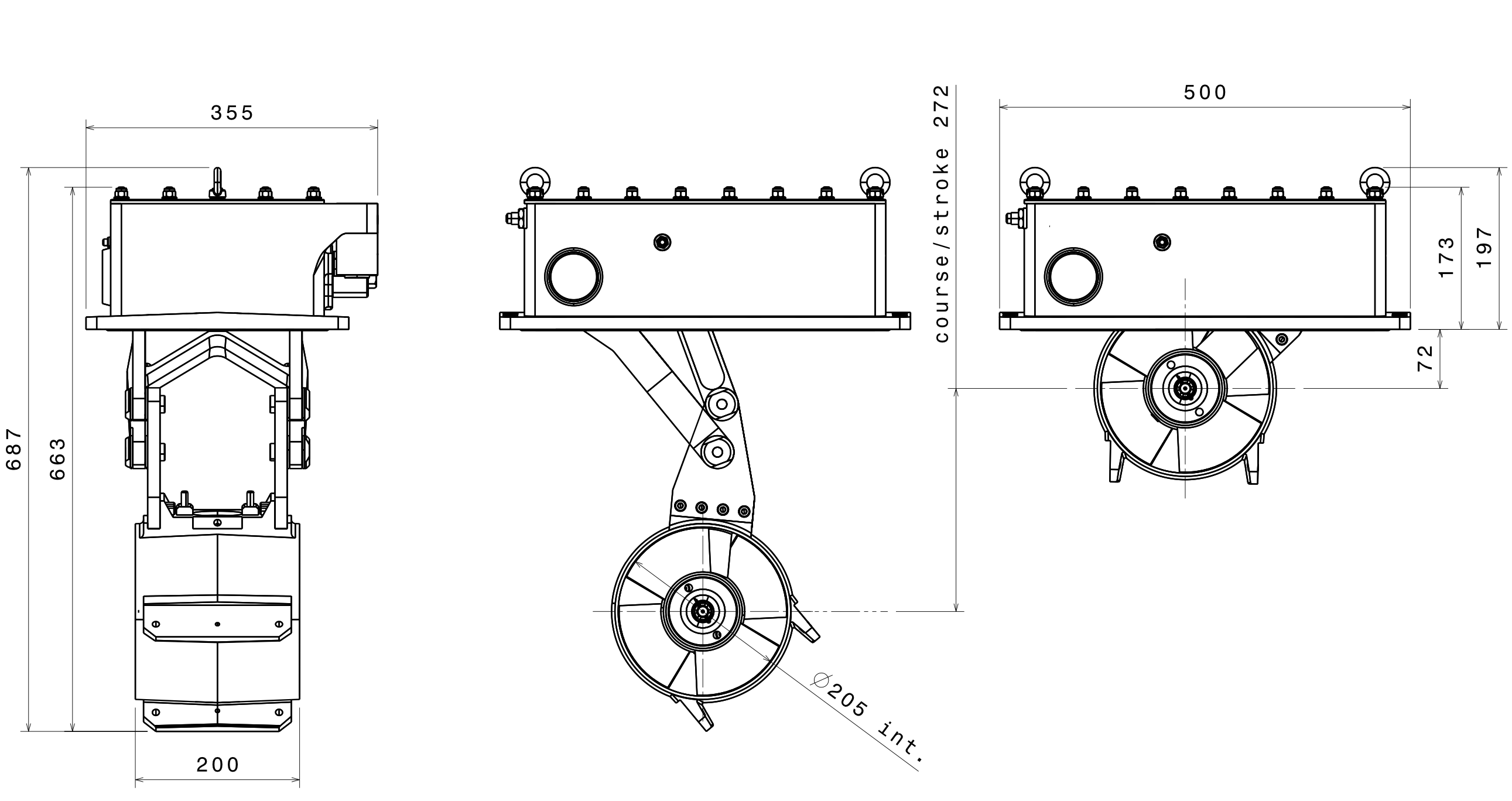
MAX POWER Retractable Thruster R200/6 & 200/8
Title:
Title
R200 Manual
Benefiting from a control system redesign, the R200 is the smallest model in the Max Power RetractTM range. Designed for top end production boats, this hydraulic retractable thruster has long been installed in prestigious yachts ranging from 45 - 68’.
