

R&D Marine
202-489 R&D Steel Split Half Couplings 4" Bukh 0.75"
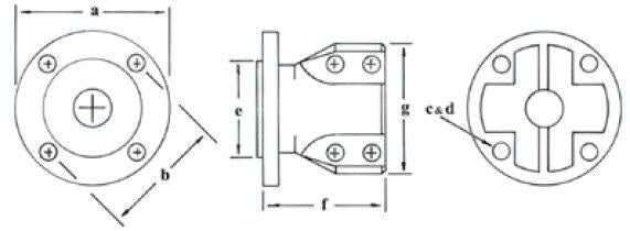
4" Bukh
Split Hub Coupling - Flange(a) - 3.54", Bolt Circle(b) - 2.93", # of Holes(c) - 4, Bolt Size(d) - 8.1mm, Pilot Dia(e) - 1.85" Female, Length(f) - 3.28", Hub Dia.(g) - 3.38"
Max Bore 1.50" or 40mm
Clamp Bolt Size 5/16" UNF
