

R&D Marine
202-255 R&D Steel Split Half Couplings 4" VOLVO 0.75"
Quantity:
4" Volvo
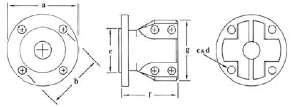
Split Hub Coupling - Flange(a) - 4", Bolt Circle(b) - 3.15", # of Holes(c) - 4, Bolt Size(d) - 10mm, Pilot Dia(e) - 2.36" Female, Length(f) - 3.28", Hub Dia.(g) - 3.38"
Max Bore 1.50" or 40 mm
